Excellence Inovention Award
Nabtesco's business is protected by many of intellectual property.
Some of them which are recognized to expect high contribution for business,
awarded by CEO as Nabtesco brilliant inventor.
2025
No applicable awards.
2024

Summary of the Invention
The present invention is a technique capable of increasing the rigidity of the first main bearing and the second main bearing by configuring the load action line of the first main bearing and the load action line of the second main bearing inside the reduction gear so as to pass through the flange portion of the case.


[Publication country] Japan Patent Office
Japanese Patent No.6335006
Japanese Patent No.6992141

Summary of the Invention


[Publication country] Japan Patent Office
Japanese Patent No.6677501
[Design registration number]
D1534455
D1548270
D1534659
D1534456
D1534660
2023

Summary of the Invention
The present invention is a retention mechanism for the seal ring arranged between the case of an eccentrical oscillation speed reducer and the motor flange, which is a technology that reduces the thickness of the case by eliminating the seal groove on the case as a result of holding the seal ring with the outer race circumference of the bearing.


[Publication country] Japan Patent Office
Japanese Patent No.4684120

Summary of the Invention


[Publication country] Japan Patent Office
Japanese Patent No.5897999
2022
Summary of the Invention
The present invention is a technology that realizes torque management at a fine resolution as well as a rotation prohibiting function, with a locking mechanism that has radially arranged rotation stop grooves and that rotates 180 degrees. This technology is adopted for Boeing 787 aircraft.


[Publication country] Japan Patent Office
Japanese Patent No.5193282
Summary of the Invention
The present invention is an inner valve of the connector molded integrally with polytetrafluoroethylene (PTFE), which is a technology that prevents product contamination by completely isolating the sliding part from the outside air, thereby maintaining sterility. This technology is adopted for manufacturing equipment requiring safety, cleanliness, durability, and so on.


[Publication country] Japan Patent Office
Japanese Patent No.3829109
Japanese Patent No.3902090
Japanese Patent No.4230501
Japanese Patent No.4230502
2021
Summary of the Invention
The present invention is a design in which an idler gear is arranged between the center gear and the motor output gear.


[Publication country] Japan Patent Office
[Design
registration number] D1415249
2020
Summary of the Invention
This rack can prevent a liquid coolant leaked from a fluid connector from getting on an electric connector by arranging the electric connector supplying electricity to the electronic unit and the fluid connector supplying a liquid coolant at different positions on the horizontal flat surface of the rack.


[Publication country] Japan Patent Office
Japanese Patent No.5364195
Summary of the Invention
This door unit allows the door opening and closing operation to be optimized and its safety to be further improved by allowing each automatic door component to independently collect information on the operating condition and change operating parameters of other components as a result of connecting to multiple automatic door components to the CAN bus for mutual communication.


[Publication country] Japan Patent Office
Japanese Patent No.4846421
Japanese Patent No.4856440
Japanese Patent No.4943944
Japanese Patent No.4958662
Japanese Patent No.4971058
Japanese Patent No.5005552
Japanese Patent No.5042509
Japanese Patent No.5069864
Japanese Patent No.5242040
2019
Summary of the Invention
The present invention is a bag-making and packaging machine which allows the maximum defect rate, which is the criteria for fault judgment, to be set and thus easily adjusted depending on the actual usage environment. The machine can contribute to improved productivity, reducing fluctuations in part replacement time, and cutting costs.
[Publication country] Japan Patent Office
Japanese Patent No.4297231
Summary of the Invention
The present invention allows the construction of a spout sealer to be simplified by provisionally sealing the bag in which a spout in inserted and providing a built-in means of opening the bag.
[Publication country] Japan Patent Office
Japanese Patent No.4150610
Summary of the Invention
The present invention improves the efficiency of speed reducers by reducing the friction at its sliding part and rotating part as a result of including molybdenum dithiocarbamate and calcium salt in the lubricant for speed reducers.


[Publication country] Japan Patent Office
Japanese Patent No.4371704
Summary of the Invention
The present invention improves the rigidity of a reduction gear in the circumferential direction by providing an allied gear in between the input gear and each spur gear, thereby making the distance between the central shaft and the crankshaft of a reduction gear longer as well as reducing noise by suppressing the circumferential speed of the gear.


[Publication country] Japan Patent Office
Japanese Patent No.4020560
2018
No applicable awards.
2017
Summary of the Invention
The present invention is related to improvement in the tracking of the traveling speed of a single- or four-axis knee joint. This includes a technology to obtain a buffer suited for walking as a result of narrowing the flow channel in the end stage of cylinder extension and a technology to detect the ground contact state of each foot. This technology is adopted for Intelligent knee joint.


[Publication country] Japan Patent Office
Japanese Patent No.3729283
Japanese Patent No.4356848
Japanese Patent No.3568149
Japanese Patent No.3245828
Japanese Patent No.3938900
Japanese Patent No.3948724
Japanese Patent No.4311752
Japanese Patent No.4646319
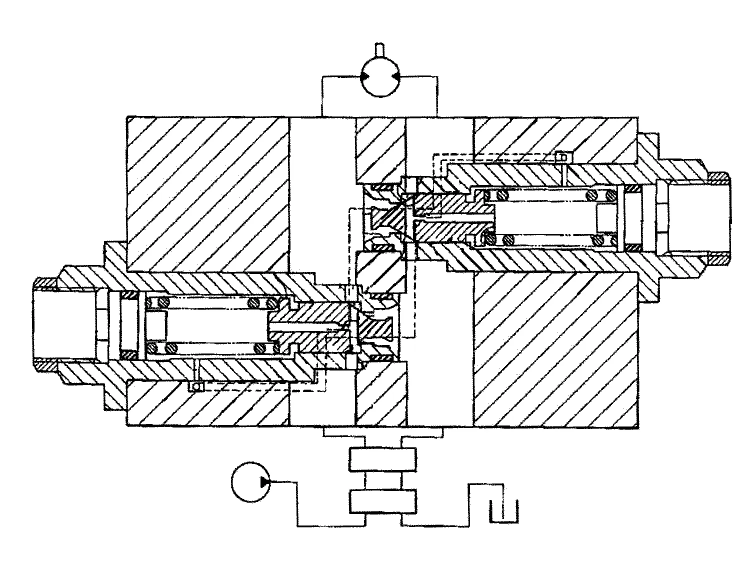
Summary of the Invention
The present invention is a technology to reduce the friction in the hole of a piston chamber by enabling the pressure oil in the two-speed piston chamber to move slowly as a result of hydraulically controlling the movement of the two-speed piston with two diaphragms. This technology is adopted for the traction motor used in hydraulic shovels.


[Publication country] Japan Patent Office
Japanese Patent No.4444620
2016
Summary of the Invention
The present invention is a technology that facilitates the formation of an oil passage in the manifold where the hydraulic oil of an actuator flows by forming it on the surface of the storing body. This technology is adopted for the Boeing 777 aircraft.


[Publication country] Japan Patent Office
Japanese Patent No.3871482
Japanese Patent No.4245890
Summary of the Invention
The present invention is an electric motor driving technology for opening and closing doors safely and comfortably without being affected by external forces such as wind by alternately generating the driving force and braking force with an electric motor. This technology is adopted for the new DS Series.


[Publication country] Japan Patent Office
Japanese Patent No.3299135
Japanese Patent No.3352911
Japanese Patent No.3696979
Japanese Patent No.3698817
Japanese Patent No.3765875
Japanese Patent No.3810516
Summary of the Invention
The present invention is a technology that allows the thickness of the platform door system to be made thinner by putting the driving mechanism at the bottom of the door guide mechanism. This technology is adopted for platform doors of various train lines.


[Publication country] Japan Patent Office
[Patent number] Japanese Patent No. 5325536 (P5325536)
[Design registration number] D1362663
Summary of the Invention
The present invention is a technology that realizes a compact structure that allows passengers to evacuate in an emergency by installing doors that can pass through the door pocket. This technology is adopted for platform doors of various train lines.


[Publication country] Japan Patent Office
Japanese Patent No.4276926
Summary of the Invention
The present invention is a technology to secure a hollow aperture by offsetting the motor from the center of the reducing gear as a result of transmitting the rotation input into one crankshaft to another crankshaft using an idler gear. This technology is adopted for Precision Reduction Gear RV™ (Type CA) .


[Publication country] Japan Patent Office
Japanese Patent No.4925992
Summary of the Invention
The present invention is a technology that eliminates the need to adjust the preload of the bearing by directly forming a race face equivalent to the main bearing inner ring on the carrier support member and disk of the reducing gear. This technology is adopted for the solid shaft model of Precision Reduction Gear RV™ (Type E, N, etc.).
[Publication country] Japan Patent Office
Japanese Patent No.3450096
Summary of the Invention
The present invention is a technology that realizes an industrial robot with low vibration by selecting the two-stage reduction ratio of the eccentric oscillating reduction gear to cause the crank frequency to be below the natural frequency of the robot. This technology is adopted for Precision Reduction Gear RV™.


[Publication country] Japan Patent Office
Japanese Patent No.2135980
Summary of the Invention
The present invention is a technology that realizes an industrial robot with low vibration by shifting the resonance area of a robot as a result of selecting the reduction ratio of the eccentric oscillating reduction gear with a two-stage speed reducing mechanism within a specified range. This technology is adopted for Precision Reduction Gear RV™.


[Publication country] Japan Patent Office
Japanese Patent No.2139668
Summary of the Invention
The present invention is a technology that prevents the resonance of a robot and reduces the size of a robot by passing the pre-stage input gear of an eccentric oscillating reduction gear with a two-stage speed reducing mechanism through to the post-stage. This technology is adopted for the solid shaft model of Precision Reduction Gear RV™ (Type E, N, etc.) .


[Publication country] Japan Patent Office
Japanese Patent No.2841060
Summary of the Invention
The present invention is a technology that prevents the resonance of a robot and reduces the size of a robot by installing an eccentric oscillating reduction gear with a two-stage speed reducing mechanism between the first component and the second component of a robot. This technology is adopted for Precision Reduction Gear RV™.


[Publication country] Japan Patent Office
Japanese Patent No.2742912
Summary of the Invention
The present invention is a technology that realizes an industrial robot with low vibration by shifting the resonance area of the robot as a result of setting the reduction ratio between the pre-stage and the post-stage of the eccentric oscillating reduction gear with a two-stage speed reducing mechanism within a specified range. This technology is adopted for Precision Reduction Gear RV™.


[Publication country] Japan Patent Office
Japanese Patent No.2590404
Summary of the Invention
The present invention is a technology that enables the space on one end of the stationary frame to be utilized effectively by arranging the reduction gear, driving motor, and rotating body on the other end of the frame. This technology is adopted for ATCs of machining centers and so on.


[Publication country] Japan Patent Office
Japanese Patent No.3088990
Summary of the Invention
The present invention is a technology that realizes a compact driving device which allows the reduction gear, motor, and wheel to be arranged on the same axial line as a result of fixing the motor to the end of the reduction gear and also fixing the wheel to the case circumference. This technology is adopted for automatic tool changers (ATCs).


[Publication country] Japan Patent Office
Japanese Patent No.3031539
Summary of the Invention
The present invention is a technology that realizes a waterproofing function for a reduction gear by filling the gap between two sealing components in the sealing structure of the reduction gear with absorbency grease. This technology is adopted for industrial robots that need to be waterproofed.


[Publication country] Japan Patent Office
Japanese Patent No.4208169
Summary of the Invention
The present invention is a technology that significantly improves the internal gear pin adjustment workability by eliminating the need to remove the main bearing outer ring from the case when replacing the pin as a result of restricting the pin movement with the main bearing inner ring. This technology is adopted for the hollow shaft model of Precision Reduction Gear RV™.
[Publication country] Japan Patent Office
Japanese Patent No.3737265